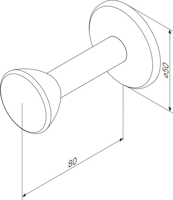
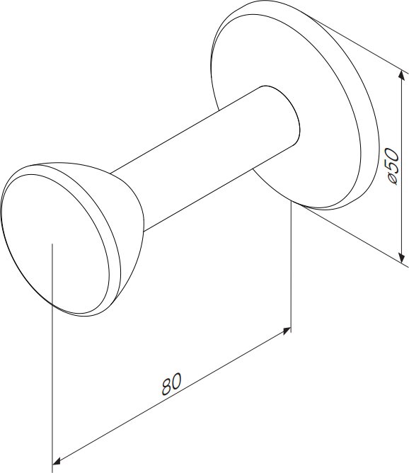
Крючок AM.PM Sensation A3035800
Доставка в пределах МКАД бесплатно
Узнать подробнее
Собери свой комплект
| Материал |
латунь
|
| Ширина |
5 см
|
| Высота |
5 см
|
| Глубина |
8 см
|
| Количество крючков |
1
|
| Метод крепления |
шурупы
|
| Область применения |
бытовая
|
| Оснащение |
крепления
|
| Гарантия |
10 лет
|
| Страна |
Германия
|
| Фактура |
глянцевая
|
| Стиль дизайна |
Современный
|
| Форма |
круглая
|
| Форма розетки |
круглая
|
Крючок 1 шт. / Набор креплений 1 шт. / Инструкция 1 шт.
Другие товары из коллекции Sensation
С этим товаром часто смотрят
Просмотренные товары

Magliezza
Jacob Delafon
AlcaPlast
Гейзер
Cersanit
Aployt
VitrA