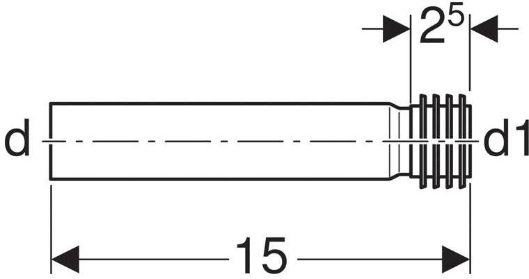
Патрубок слива для писсуара Geberit 152.489.16.1
Доставка в пределах МКАД бесплатно
Узнать подробнее
| Страна |
Швейцария
|
| Вес |
1 кг
|
| Тип |
Комплектующие для унитазов
|
С этим товаром часто смотрят
В наличии
SIMAS Vignoni унитаз подвесной безободковый "Rimless" 56*36,5см, без крепежа F85, цвет: cemento matt
Simas
В наличии
Двухуровневая водосливная арматура, нижний подвод, Тип B. Трапециевидная резинка IDDIS (F012400-02K)
Iddis
Просмотренные товары

TECE
Riho
Aployt
Loft it